Характеристики
Параметры заказа
Number for order
280116
Минимальный заказ
от 1 шт
Линейка
Light (обычная)
Технические характеристики
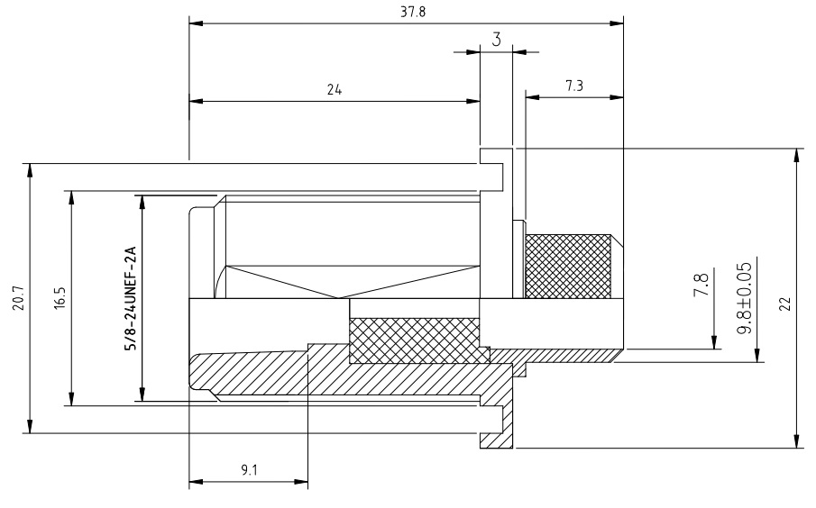
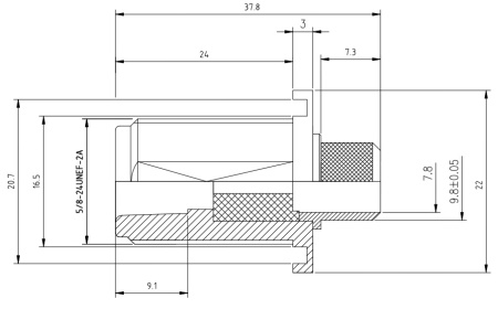
Серия (интерфейс)
N
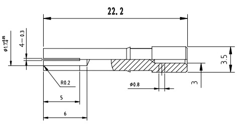
Корпус
под пайку
Конструктив
прямой
Кабельная группа (типоразмер)
?
Для кабеля и коннекторов на кабель
RG213 / LMR400 / 8DFB / RG8 / RG214
Тип корпуса разъема
female (мама)
Полярность коннектора (reverse polarity)
прямая
Тип крепления разъема
приборный под гайку
Тип фланца
?
Если коннектор фланцевый
круглый под гайку
Тип центр. контакта
female / мама / розетка
Центральный контакт
под пайку
Электрические параметры
КСВн (не более)
1.5
Волновое сопротивление (импеданс)
50 Ом
Макс. раб. частота, ГГц
?
Для коннекторов
4
Измеренная макс. раб. частота, ГГц
?
Для коннекторов
4
Механические параметры
Материал корпуса
латунь (brass)
Материал покрытия корпуса
?
Для разъема
никелевое покрытие
Материал контакта (pin)
бериллиевая бронза BeCu
Материал покрытия контакта (pin)
золото (gold plating)
Материал диэлектрика (изолятора)
?
Для коннектора
PTFE
Материал гайки
?
Для коннектора
латунь (brass)
Материал покрытия гайки
никелевое покрытие
Количество циклов сопряжений
?
Кол-во соединений-разъединений для коннектора или перехода
100
Тип резьбы
дюймовая
Резьба (по расположению)
внешняя
Климатические факторы
Нижняя рабочая t, °C
?
Для кабелей
-55
Верхняя рабочая t, °C
?
Для кабелей
165
Весогабаритные характеристики
Масса, г
34.09
Отзывы
Оставить отзыв
Загрузка отзывов...
Услуги
